RÉSUMÉ. - En amont de Digne, dans la vallée du Bès aux environs d'Esclangon, la formation néogène de Valensole passe latéralement à une "Formation olistolitique" par le jeu d'apports tectonosédimentaires. Ces derniers ont deux sources distinctes : les plus précoces, mis en place dès la fin du Miocène, proviennent du SE et ont été émis par un "accident d'Esclangon", déjà actif au Miocène. Les plus tardifs, mis en place dans le haut de la formation de Valensole, proviennent au contraire du NNE et résultent de la progression du front de la Nappe de Digne pendant la sédimentation.
ABSTRACT. - Around Esclangon, near Digne, the Valensole Formation grades laterally into an olistolitic formation born from tectonosedimentary processes. The olistolits are of two different origins the older ones were emplaced as early as the end of the Miocene and came from the SE , being produced by a NE-SW fault, viz., the "Accident d'Esclangon", acting from the early Miocene ; on the contrary the younger ones, which are found at the summit of the Valensole formation, originated from the NNE and result from the progression of the Digne thrust's front during sedimentation
On sait que le bassin de Valensole (fig.1) est, durant tout le Mio-Pliocène, un domaine de subsidence très marquée, comme en témoigne une sédimentation détritique importante dont le paroxysme correspond aux dépôts épais et le plus souvent très grossiers de la Formation de Valensole, d'âge essentiellement pliocène.
Ce domaine est actuellement compris entre le front chevauchant des chaînes subalpines méridionales, la vallée de la Durance et le rebord septentrional du domaine provençal sur lequel il s'appuie au sud. Sa limite orientale est en fait constituée par un faisceau d'accidents hérités des structurations liasique et nummulitiques qui définissent le front du "Poinçon d'Aspres-Rouaine (Pairis et al. ,1986). La pointe septentrionale des affleurements du Néogène s'engage sous la Nappe de Digne dans la "demi-fenêtre de Barles", que limite au S le "lobe de la Robine", à la faveur d'un débordement de la nappe vers l'W (Gidon et Paris, 1986). Dans ce secteur les couches décrivent une structure synclinale synsédimentaire néogène décrite sous le nom de "Vélodrome" (Gigot et al..,1974), dont nous désignerons la terminaison sud-orientale du nom de Synclinal d'Esclangon.
Le synclinal d'Esclangon montre, sur les flancs de la vallée du Bès une très bonne coupe des diverses formations tertiaires (Kerckhove, in Debelmas,1983). On trouve successivement, sur le bâti mésozoïque plissé et en partie érodé :
- la Molasse rouge oligocène , formée de marnes rutilantes indurées, à bancs de grès souvent glauconieux et à passées locales de brèches à éléments calcaires locaux ;
- la Molasse intermédiaire , fluvio-lacustre, probablement aquitanienne, à marnes grises contenant des bancs de grès argileux verts et quelques bancs de calcaires coquilliers bitumineux;
- la Molasse marine miocène , intertidale (à ripple-marks et traces de pattes
d'oiseaux), à passées de conglomérats polygéniques exotiques. Sa base, ou Molasse
gréseuse est formée de bancs de grès bien cimentés ; son sommet, ou Molasse gréso-marneuse est formé d'alternances de gros bancs de grès plus ou moins argileux et de marnes grises. L'un des plus élevés de ces horizons marneux a livré une faune de gastéropodes de l'Helvétien-Tortonien (Beaudoin t al.,1966).
- la Formation de Valensole, qui couronne la série. Il s'agit de marnes jaunes, meubles, à lits de conglomérats calcaires, où s'observent des passages latéraux rapides (fig.2) entre secteurs à marnes ou à conglomérats prédominants. Le passage au régime continental fortement détritique qui marque le début de cette formation est à mettre au compte de la régression messinienne.
Les rapports entre la nappe et le bassin de Valensole sont complexes et se font, dans le secteur à l'W de la vallée du Bès, par l'intermédiaire d'une Formation olistolitique, attribuée jusqu'ici à des dépôts du Pliocène terminal : ils étaient considérés comme antérieurs au déplacement de la nappe et comme ravinant la formation de Valensole ("bassin résiduel" de Gigot et al..,1974). En réalité l'analyse des rapports entre les diverses formations montre une plus grande complexité, dans l'espace comme dans le temps, des dispositifs d'apports détritiques et un enchaînement progressif des événements tectonosédimentaires de cette région.
2. LA PARTIE SUD DU TERTIAIRE D'ESCLANGQN
2.1 Les pentes du ravin de l'Ubac des Gardes
Ce ravin est entaillé dans la partie centrale des affleurements de la formation de Valensole. Cette dernière y est discordante sur le Miocène marin dans les hautes pentes de rive droite, les passées bréchiques des marnes jaunes reposant en onlap sur la surface rubéfiée du dernier banc marin. Ces mêmes brèches, plus développées vers le haut, se perdent vers le NW par effilement dans les marnes jaunes.
Aux approches de la crête des Gardes de telles passées conglomératiques sont reprises par un accident synsédimentaire à vergence NW, qui est cacheté par des marnes jaunes affectées de biseaux de discordances intraformationnelles (fig.3). Le flanc redressé des couches rebroussées vers le N s'oriente N 75 - N 80 pour se tordre vers l'W et adopter alors une direction N 30, indiquant des cisaillements tangentiels à vergence NW.
Coiffant cette structure viennent des marnes contenant des fragments de bancs de grès et des blocs de Tithonique ou de poudingues polygéniques dont le caractère d'olistostrome est donc net. Elles sont, à leur tour, cachetées par la sédimentation régulière des lits de poudingues du sommet de la crête des Gardes. Ces marnes montrent d'W en E une variation de teinte qui les fait passer du jaune habituel à un orangé, voire à une teinte rutilante voisine de celle des marnes oligocènes. Ce passage se fait d'une façon irrégulière et diffuse, des paquets de marnes plus rouges s'intercalant dans d'autres plus jaunes. Ceci, joint au sens de cette variation et au contexte olistolitique, porte à conclure qu'il s'agit du résultat d'une contamination des marnes de Valensole par des débris de marnes oligocènes provenant du SE. Cette interprétation est effectivement confirmée par l'étude des secteurs plus méridionaux (voir ci-après, § 2.2.1).
En définitive il faut souligner ici la présence, dès la partie basse de la Formation de Valensole d'une tectonique synsédimentaire et d'apports olistolitiques, indiquant l'un comme l'autre des venues depuis le SE.
2.2 Les abords de Tanaron
Ils se caractérisent par le développement de la formation olistolitique. Cette dernière couvre sur la carte un croissant à concavité sud, intercalé entre la série tertiaire et la base de la nappe. Celle-ci est incurvée de la même façon par une synforme à axe fortement plongeant vers le SE. Cette disposition, jusqu'ici attribuée, comme le bombement ouvert par la demi-fenêtre de Barles, à un ploiement tardif postérieur au charriage, est plus probablement originelle et liée à la mise en place de la nappe, car elle n'affecte pas le Mio-pliocène affleurant immédiatement plus au N. Les relations entre le croissant olistolitique de Tanaron et ce Mio-Pliocène sont complexes, comme on va le voir, et parfois quelque peu ambiguës.
2.2.1 Le ravin du Casset et les pentes orientales de Tanaron
- Le ravin lui-mme est entaillé dans la Formation olistolitique, constituée de marnes jaunes à orangé lardées de bancs de grès clairs glauconieux.
Au N cette formation repose directement, sans l'intermédiaire de la Formation de Valensole, sur les derniers bancs marins du Miocène, pentés vers le SE ; ceux-ci sont formés de conglomérats à ciment jaunâtre (et non vert comme dans les bancs inférieurs) et contiennent des éléments d'origine provençale, tels que des rhyolites. Vers le NW, ces conglomérats (encore marins car contenant des galets perforés) s'effilent et se perdent dans le sommet de la série marine contenant des niveaux à cérithes . Dans ce secteur, de plus, la Formation olistolitique se raccorde latéralement aux marnes à olistolites, décrites plus haut (§ 2.1), qui sont interstratifiées dans la formation de Valensole inférieure, sous la crête des Gardes.
Plus au S, à l'aplomb du rocher du Casset, la Formation Olistolitique recouvre, en discordance accusée, les termes inférieurs du Miocène, rebroussés et renversés pendant leur sédimentation (Gigot et al.,1974). En annulant le basculement post-Pliocènes on s'aperçoit que, lors du dépôt de cette formation, la molasse gréseuse basale était déjà renversée à 300 vers le S. Or ce rebroussement précoce est visiblement lié à l'avancée d'une lame chevauchante de molasses rouge et intermédiaire qui s'observe plus largement en rive gauche du Bès. Là, sa base se suit presque parallèlement à celle de la nappe jusqu'au ravin de Rousset, au N des ruines d'Esclangon. Dès les abords de la Mairie d'Esclangon , en rive gauche du Bès, ces molasses allochtones deviennent de moins en moins rouges et s'enrichissent en passées meubles en m&me temps que leurs bancs de grès se dissocient. Elles passent ainsi progressivement, d'E en W à la Formation olistolitique, qui s'est donc formée en partie à leurs dépens (comme le suggéraient déjà les affleurements du ravin de l'ubac des Gardes).
- Le rocher du Casset est une lame de Jurassique supérieur garni de brèches de pente , le tout renversé vers le NE (fig.4). Il s'agit de l'olistolite le plus volumineux de la Formation olistolitique. Il appartenait probablement à la bordure méridionale du bassin de Valensole. En effet ses brèches se diluent, par effilement selon un sens originel grossièrement du sud vers le nord, dans les marnes orangées contenant des olistolites (notamment de Valanginien). Il est séparé du reste de la formation olistolitique par une faille inverse à vergence N, soulignée par un crochon antiforme. L'analyse de la fracturation de cet olistolite par la méthode des dièdres droits (fig.5) fait apparaître deux compressions horizontales distinctes , l'une avec une direction de sigma1 selon le N 20, l'autre avec un sigma1 grossièrement EW. Cette dernière est responsable de stries peu inclinées portées par des plans N 75-80 dextres et N 135 sénestres.
Ces deux directions de compression correspondent à des manifestations connues par ailleurs dans ce secteur: la première est celle du mouvement d'ensemble, à l'échelle régionale, du Poinçon d'Aspres-Rouaine et de la nappe de Digne ; quant à la seconde, elle correspond bien aux déformations synsédimentaires décrites plus haut (fig.3) sous la crête des Gardes.
2.3 Le secteur au NW de Tanaron
Il montre des alignements de grosses lames de Tithonique, comparables au rocher du Casset, dont l'orientation s'infléchit comme celle du croissant de Tanaron lui-m?me (le point d'inflexion se situe sur l'olistolite du point 1139). Ces lames sont incluses dans un ensemble marneux meuble à lits gréseux discontinus qui poursuit celui des pentes NE de Tanaron (ravin du Casset).
La Formation olistolitique repose du coté N contre les conglomérats de la Formation de Valensole qui forment la crête des Gardes. Ces derniers se chargent progressivement, du N vers le S , aux approches des marnes à olistolites, de blocs de plus en plus gros, atteignant un diamètre pluri-métrique. En même temps ces bancs dessinent, au N de la ferme du Touron, un pli synclinal déversé vers l'W, plongeant vers le S et d'axe N 30, qui est tranché par le contact des deux formations. Ce dernier correspond, d'un point à l'autre, soit à un contact discordant soit à un passage latéral par indentations.
La conclusion qui se dégage de ces observations est que l'on a là un contact tectono-sédimentaire, le passage latéral entre les deux formations ayant été repris tectoniquement, sans doute sous l'effet de l'avancée de la Nappe de Digne. Il faut remarquer que, là encore, on observe des structures de raccourcissement à peu près EW
Celle-ci également représentées par les plis d'axe N 30 visibles dans le gypse de la base de la nappe, au SW de Tanaron, témoignent sans doute d'un épisode de mouvements d'E en W de la nappe.).
3. LA PARTIE NORD DU TERTIAIRE D'ESCLANGON
Dans ce secteur toutes les couches montrent un redressement et, pour les plus anciennes un renversement total vers le S. Ces dispositions sont opposées à celles qui viennent d'être décrites plus au sud. La répartition des apports détritiques témoigne également d'un sens presque inversé des apports locaux.
3.1 Les ravins du versant du Bès
- Dans les pentes des ravins de l'Adrech les molasses marines plus ou moins renversées sont à peu près concordantes entre elles mais nettement tranchées en biseau par le contact basal de la Formation de Valensole, beaucoup moins basculé et ne dépassant guère la verticale (l'angle de discordance excède souvent 30°).
Cette formation est constituée de plusieurs faisceaux de bancs plus ou moins conglomératiques superposés. ils sont parfaitement concordants dans le secteur plus méridional mais se recoupent mutuellement en biseaux de discordance de plus en plus marqués vers le N (fig.6). Ce dispositif trahit bien évidemment le caractère synsédimentaire de ce basculement ; mais ces discordances ne correspondent pas forcément à des saccades tectoniques elles résultent plus vraisemblablement de saccades d'érosion de la bordure soulevée et/ou de pulsations dans l'épandage détritique induit par le soulèvement.
- Dans les parties les plus hautes des ravins la formation de Valensole se charge de nouveau de marnes plus ou moins teintées de rouge ; elles témoignent certainement encore de l'érosion des molasses rouges, portées en altitude ici par le soulèvement et le renversement de la bordure du bassin. Ces couches sont rebroussées par des plis d'axe N 120 et tronquées par le contact basal de l'olistolite kilométrique de La Fubi. Ce dernier, formé de molasse miocène renversée (fig.6), est à son tour recouvert par le paquet de Tithonique et de Berriasien de La Coustagne, ployé quant à lui en un anticlinal d'axe NNE-SSW, affectant également les molasses rouges qui l'enveloppent. Le Miocène de La Fubi est d'ailleurs rebroussé à son tour,vers le SW, en un pli d'axe N 120 sous le paquet de la Coustagne
Ces structures indiquent que ces deux masses exotiques de La Fubi et de La Coustagne se sont mises en place selon un sens qui diffère de plus de 90°de celui des mouvement tectoniques synsédimentaires du bord S du synclinal d'Esclangon. Néanmoins l'une et l'autre sont cachetées du coté ouest par des conglomérats et des marnes de Valensole.
Leur mise en place est assez clairement en relation avec celle de la nappe de Digne en effet le paquet de la Coustagne n'est pas un véritable olistolite il n'est séparé des terrains jurassiques et crétacés affleurant plus au N à La Colle que par une cassure extensive N 120 actuellement fortement pentée vers le S-SW . En fait cette faille se rattache à la famille des failles plates, de chevauchement vers le S, qui affectent toute la partie haute des structures au N du Tertiaire renversé son attitude actuelle résulte de son basculement avec le Tertiaire vers le S). En rive gauche du Bès cette famille de failles s'avère correspondre à des fractures secondaires (du type dit "Riedels R"), induites par le chevauchement de la nappe Il en résulte que ces olistolites supérieurs témoignent d'un déplacement de la nappe déjà actif avant même que la formation de Valensole ait cessé de se déposer.
3.2 Dans le versant W qui descend sur Lambert, on observe fondamentalement le même dispositif, la nappe reposant sur une série tertiaire renversée, cachetée par la Formation de Valensole riche en olistolites de taille variable . Les contacts sont toutefois un peu plus difficiles à observer en raison de l'importance des glissements de terrain quaternaires ; localement ces derniers peuvent donner l'impression illusoire de mélanges sédimentaires entre le Trias et les autres formations.
. CONCLUSIONS
En définitive deux aspects majeurs peuvent être dégagés
1. La dualité d'origine des apports détritiques grossiers , à blocs et olistolites: Les premiers arrivés viennent plut6t du sud et accompagnent des déformations à vergence NW, tel le rebroussement du flanc SE du synclinal d'Esclangon, déjà acquis dès le début du dépôt des couches de Valensole. Cette source de venues détritiques a encore fonctionné pendant presque toute la durée du dépôt de la formation de Valensole. Elle correspond sans doute à la lèvre d'un accident important, à peu près NE-SW, invisible de nos jours car masqué sous la nappe de Digne, que l'on peut appeler Accident d'Esclangon L'individualisation de l'écaille chevauchante des molasses rouges d'Esclangon est certainement liée au jeu de cette faille majeure.
Les apports olistolitiques les plus tardifs, intercalés dans le sommet de la partie de la formation de Valensole conservée ici, sont d'origine très différente
Venus du NNE ils ont été détachés, par cisaillement, au front de la nappe en cours de progression. A peine fichés dans la formation détritique qui les accueille, ils ont été recouverts à tour de rôle par l'avancée de la nappe.
2. Le diachronisme de la "Formation olistolitique : cette formation s'avère contemporaine de l'ensemble de la Formation de Valensole, à laquelle elle passe latéralement, aux abords N de Tanaron. Elle témoigne, par l'ensemble de ses caractères, de l'évolution continue de la tectonique, depuis le jeu, au Miocène, de 1'Accident d'Esclangon, jusqu'à la mise en place de la nappe de Digne au cours mme de la sédimentation des couches élevées de la formation de Valensole. Dans ce scénario il n'y a pas de place pour une érosion des couches de Valensole, ni pour le remplissage d'un "bassin résiduel" avant l'arrivée de la nappe. De plus il en découle que, leur dépôt cessant au fur et à mesure de l'avancée du front de la nappe, l'âge du sommet du colmatage du bassin est nécessairement de plus en plus récent lorsque l'on se déplace dans la direction suivie par la nappe, c'est à dire du NE vers le SW.
REFERENCES

Fig. 1 - Cadre structural : l'extrémité du du bassin de Valensole et le chevauchement de la nappe de Digne.
1. Socle anté-triasique; 2. Couverture mésozoïque de type provençal; 3. mésozoïque de type dauphinois; 4. O1igocène, et Aquitanien continental; 5. miocène marin; 6. Dépôts du Néogène supérieur du bassin de Valensole; 7. Quaternaire; 8. nappes internes; 9. Chevauchement pennique.

Fig. 2 - Carte schématique de l'extrémité SE du synclinal d'Esclangon
1. Terres noires de la Coustagne ; 2. Tithonique de la Coustagne ; 3. Molasse rouge et molasse intermédiaire ; 4. Molasse gréseuse ; 5. molasse gréso-marneuse ; 6. Conglomérats sommitaux de la molasse marine miocène ; 7. Brèches ; 8. Formation de Valensole : a) marnes jaunes, b) secteur où dominent les bancs conglomératiques ; 9. Formation olistolitique : a) marnes orangées, b) olistolite de Jurassique, c) olistolite de grès ou de poudingue ; 10. Lobe de la Robine (nappe de Digne) ; 11. Surface de discordance.

Fig. 3 - Schéma des rapports de la Formation olistolitique avec la Formation de Valensole, entre Tanaron et le ravin de l'Ubac des Gardes.
Noter :
- le passage latéral de la sédimentation bréchique à la sédimentation
marneuse (A)
- l'existence d'une fracture qui tronque les prismes d'accrétion bréchiques (B), et qui est scellée dans la sédimentation comme 1e pli que
dessinent ces brèches (C)
- l'existence d'une surface de ravinement sous les
marnes à olistolites (D), scellée elle aussi dans la sédimentation (E),
- le
passage latéral des marnes orangé de l'olistostrome aux marnes jaunes typiques
de la Formation de Valensole.

Fig 4 - Coupe schématique de l'olistolite du Casset
1 Terres noires; 2. "Argovien"; 3. Tithonique; 4. Brèches à
éléments
calcaires et marnes orangé; 5. marnes orangé à oilistolites gréseux.
Fig. 5 - Diagrammes de répartition des directions de serrage
A / toutes mesures confondues sigma1 est N 20 environ, mais un deuxième nuage
de
points s'individualise dans le même secteur du diagramme;
B/ un critère d'exclusion élimine les plans et stries responsables de l'apparition du nuage de points avec sigma1 N 20 : une direction de serrage transverse ou oblique sur la direction du premier sigma1 apparaît.

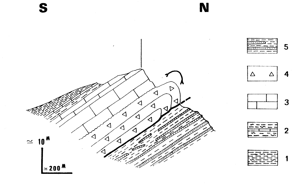
6 - Coupe schématique du flanc nord du synclinal d'Esclangon
1. Terres noires; 2. Tithonique; 3. Néocomien; 4. Brèches oligocènes ; 5. Marnes rutilantes et grès glauconieux de la Molasse rouge; 6. Molasse intermédiaire; 7. Molasse gréseuse; B. Molasse gréso-marneuse; 9. conglomérats et marnes jaunes de la Formation de Valensole.
Noter
-
les discordances internes (traits gras ondulés) et le scellement des olistolites de la Fubi et de la Coustagne, dans le formation de Valensole
-
Le plan de fracture sur lequel s'appuie l'olistolite de la Coustagne;
- les accidents peu inclinés qui découpent la structure dc la Colle et l'aspect flammé des structures anciennes reprises au voisinage de ces failles, qui témoignent d'un déplacement des superstructures vers le SSE.
Fig. 7 - Carte schématique de la région de Lambert et d'Ainac
1. Terres noires; 2. Tithonique; 3. Molasse rouge et molasse intermédiaire; 4. : Miocène marin (a : Molasse gréseuse; b : Molasse gréso-marneuse); Formation olistolitique (a :principaux olistolites de Jurassique); 5. Formation de Valensole; 7. Lobe de La Robine (nappe de Digne): 8. chevauchement du lobe de La Robine ; 8. Coulée boueuse, paquet glissé ; 10. trace de banc ; 11. discordance; 12. failles.