données stratigraphiques |
1/ Liste des formations stratigraphique et de leurs abréviations dans les figures.
a) Roches du socle cristallin (leurs noms sont souvent indiqués in extenso) :
chl-sch = chlorito
schistes
gab. = Gabbros
gr = granites
gn = gneiss (gnO = gneiss oeillés)
gn migm. = gneiss
migmatitiques ("migmatitisés")
amphib. = amphibolites ;
gn.a = gn amphib. = gneiss
amphiboliques
gn lept. = gneiss
leptynitiques
gn.la = gneiss "leptyno-amphiboliques"
lept. = Leptynites ;
mcs = micaschistes
migm. = migmatites
sch.graph. = schistes
graphiteux
serp. = serpentinites
prs = q = prasinites (croûte océanique métamorphisée) du Versoyen (zone valaisane).
b) Couverture des massifs cristallins externes
(Aiguilles Rouges, Mont-Blanc et Beaufortain
occidental) :
cN = calcaires nummulitiques
- ci = calcschistes du Crétacé inférieur
Ti : calcaires clairs du Jurassique terminal (Tithonique).
TN = tn : Terres Noires (marnes noires à
patine brune) [j4-2, j4-1b]
Cal = calcaires gréseux à oolites ferrugineuses
(Callovien ?) du Rocher du Vent [jG]
- Bj = Baj. inf. : Calcarénites du Bajocien
inférieur et moyen [j1a]
Aal. = argilites schisteuses de l'Aalénien [l9]
- Ls : Lias schisteux (Toarcien - Domérien) [l8-6]
:
To = Toarcien
Dom : Domérien
- Lc : Lias calcaire (Carixien - Hettangien) [l5-1]
Car. = Carixien
Loth. = Lotharingien
Sin. = Sinémurien
- Hett. = Hettangien
- tr : Trias (lorsque non subdivisé) :
tSp : spilites
tD : dolomies triasiques
tK : cargneules triasiques
tG : gypses triasiques
spa : surface de la pénéplaine anté-triasique (en général garnie par quelques mètres de grès du Trias basal)
Roches sédimentaires antérieures au cycle alpin :
Ps = P : Permien (en prédominance grès et schistes
pourpres à violacés)
h = Hr : Houiller (Grès sombres et conglomérats
quartzeux)
c) Terrains des unités charriées du Beaufortain oriental
(appartenant essentiellement à la zone valaisane)
:
eBr : brèches de l'Éocène (Quermoz)
csBr : brèches du Crétacé (Quermoz)
flT : Flysch de Tarentaise (alternances calcaréo-schisteuses
prédominantes), d'âge Crétacé supérieur
flgr : Flysch de Tarentaise inférieur, à
dominante gréseuse (dans l'unité de Moutiers).
flcg = flG : conglomérats
à gros blocs à la base du flysch (et schistes
à lits quartzitiques, dits "couches des Marmontains",
qui les recouvrent)
flC = "couches de l'Aroley" = calcaires à
lits de microbrèches à la partie inférieure
de la série du flysch (unité du Roignais en Versoyen)
flS = schistes noirs de base de la série du flysch
(unité du Roignais)
prs = q = prasinites (croûte océanique métamorphisée) du Versoyen
Js = js = Ti : calcaires clairs du Jurassique terminal (Tithonique).
jmBr : brèches du Jurassique moyen (Quermoz)
Jm = jm : calcschistes du Jurassique moyen
l-jm : calcschistes du Lias - Jurassique moyen (série
du Quermoz)
LC : Lias calcaire de Tarentaise, massif et souvent marbreux (Lias moyen - supérieur ?)
tD : Dolomies et calcaires dolomitiques du Trias moyen
tQ : Quartzites du Trias inférieur
p-t : roches siliceuses claires gréseuses et microconglomératiques
d'âge permo-triasique mal précisé
pS : schistes volcano-détritiques violacés
permiens
P : Permien (sans différenciation de faciès)
hcg : conglomérats du houiller terminal = "assise
de Courchevel" (Stéphanien inférieur)
hrg : houiller supérieur à prédominance
gréseuse
hr : houiller non différencié (faciés
à prédominance schisto-gréseuse en général)
= "houiller productif", à niveaux de charbon
(Westphallien).
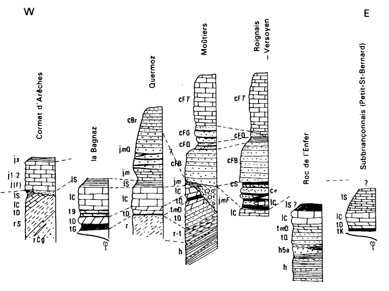
2/ Quelques colonnes stratigraphiques
|
Trias -Jurassique |
|


|
Liste des localités de la section |
MONT - BLANC |
| Page d'accueil du site |
|